YAMAHA CORPORATION
CRW2260T
| Device Type | Internal CD-RW |
| Interface | SCSI 2 |
| Spin Rate (Read/Write) | 6x/2x |
| Formats Supported Read | CD-XA, CD-DA, CD-I, CD-ROM, Video CD, CD-Bridge, CD-Extra |
| Formats Supported Write | CD-XA, CD-DA, CD-I, CD-ROM, Video CD, CD-Bridge, CD-Extra |
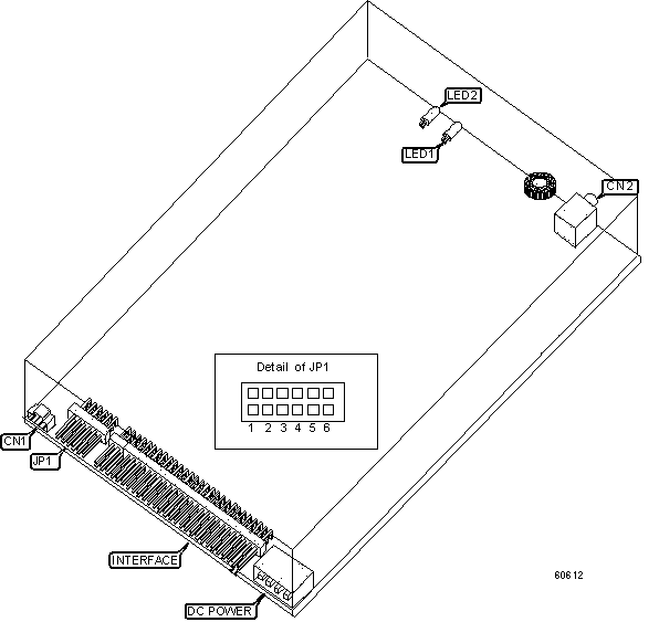
| View | Top |

CONNECTIONS |
|||
Function |
Label | Function |
Label |
| Audio line out | CN1 | Headphone |
CN2 |
USER CONFIGURABLE SETTINGS |
|||
Setting |
Label |
Position |
|
| » | Parity check enabled | JP1/4 |
Closed |
| Parity check disabled | JP1/4 |
Open |
|
| Termination enabled | JP1/5 |
Closed |
|
| Termination disabled | JP1/5 |
Open |
|
| » | Block size disabled | JP1/6 |
Open |
| Block size enabled | JP1/6 |
Closed |
|
DRIVE SELECT ID |
||||
Drive ID |
SW1/1 |
SW1/2 |
SW1/3 |
|
0 |
Open |
Open |
Open |
|
1 |
Closed |
Open |
Open |
|
2 |
Open |
Closed |
Open |
|
» |
3 |
Closed |
Closed |
Open |
4 |
Open |
Open |
Closed |
|
5 |
Closed |
Open |
Closed |
|
6 |
Open |
Closed |
Closed |
|
7 |
Closed |
Closed |
Closed |
|
DIAGNOSTIC LED(S) |
|||
LED |
Color |
Status |
Condition |
LED1 |
Orange |
On |
Power is on |
LED1 |
Orange |
Off |
Power is off |
LED1 |
Green |
On |
Unit contains a disc |
LED2 |
Green |
On |
Data is being transmitted |
LED2 |
Green |
Blinking |
Data is being accessed |
LED2 |
Green |
Off |
Data is not being transmitted |
LED2 |
Orange |
On |
Data is being recorded |